В статье представлены результаты комплекса типовых и предквалификационных испытаний на соответствие требованиям технического задания и стандарта ГОСТ Р МЭК 60840-2022, выполненных в рамках проекта НИОКР «Разработка российского изоляционного пероксидносшиваемого компаунда для силовых кабелей на напряжение 110 кВ».
Демидов С.Н., первый заместитель генерального директора — главный инженер ПАО «Россети Центр»
Микрюков В.В., и.о. заместителя главного инженера по технологическому развитию и инновациям ПАО «Россети Центр»
Пацев А.А., главный специалист Дирекции технологического развития и инноваций ПАО «Россети Центр»
Урутин Е.И., начальник управления технологического развития и цифровизации филиала ПАО «Россети Центр и Приволжье» — «Нижновэнерго»
Носков И.Н., технический директор АО «Кирскабель»
Белослудцев К.Н., главный технолог АО «Кирскабель»
Бузлаев А.В., генеральный директор АО «Лидер-Компаунд»
Глушкин С.В., заместитель генерального директора по новым технологиям — главный технолог АО «Лидер-Компаунд»
Шувалов М.Ю., д.т.н., заведующий отделением кабелей и проводов энергетического назначения ОАО «ВНИИКП»
Овсиенко В.Л., к.т.н., заместитель заведующего отделением кабелей и проводов энергетического назначения ОАО «ВНИИКП»
Как уже отмечалось в [1], российские производители кабельно-проводниковой продукции на класс напряжения 110 кВ и выше столкнулись с проблемой отсутствия отечественного сырья для производства кабелей с изоляцией из сшитого полиэтилена. Для решения этой проблемы в 2023 году в ПАО «Россети Центр» — управляющей организации ПАО «Россети Центр и Приволжье» начата реализация проекта НИОКР «Разработка российского изоляционного пероксидносшиваемого компаунда для силовых кабелей на напряжение 110 кВ». В работах принимают участие АО «Кирскабель», ОАО «ВНИИКП» и АО «ЛидерКомпаунд».
В ходе реализации НИОКР выполнена оценка основных кратковременных электрических, физико-химических, механических и других характеристик доступных на рынке промышленных марок полиэтилена высокого давления, используемого в качестве полимерной основы для разрабатываемой композиции, выполнен анализ их чистоты.
Разработана рецептура и технология, проведена технологическая апробация, изготовлены и испытаны опытные образцы.
На основе достигнутых результатов было принято решение о проведении типовых и предквалификационных испытаний в соответствии с требованиями ПАО «Россети», технического задания, ГОСТ Р МЭК 60840-2022. Испытания выполнены на разработанном в ходе НИОКР кабеле марки ПвПуп2г 1×2000(гж)/240ов-64/110 кВ, с изоляцией двух рецептур: рецептуры К и рецептуры N.
ПРОВЕДЕНИЕ ИСПЫТАНИЙ
Неэлектрические испытания проводились на образцах кабелей (изготовитель — АО «Кирскабель»), а типовые и предквалификационные — на кабельных сборках (кабельных системах), включающих в себя помимо кабеля арматуру, с которой кабель в дальнейшем будет эксплуатироваться.
По программе неэлектрических испытаний выполнена проверка всех характеристик в соответствии с требованиями ГОСТ Р МЭК 60840-2022 (проверка конструкции, в том числе на стойкость к проникновению влаги, проверка физико-механических характеристик изоляции и оболочки). Результаты испытаний представлены в таблицах 1 и 2. Анализ результатов показывает, что все показатели соответствуют требованиям нормативно-технической документации либо значительно ее превосходят.


Типовые электрические испытания проводились в высоковольтном испытательном центре ОАО «ВНИИКП» (г. Подольск). На испытательной площадке в Подольске была смонтирована кабельная сборка в составе:
- кабель марки ПвПуп2г 1×2000(гж)/240ов-64/110 кВ, рецептура К;
- кабель марки ПвПуп2г 1×2000(гж)/240ов-64/110 кВ, рецептура N;
- концевая муфта наружной установки с выводом оптоволокна марки ИКМ-126-2000 (ООО «Изолятор АКС»);
- сухая концевая муфта наружной установки с выводом оптоволокна марки ИСКМ-126-2000 (ООО «Изолятор АКС»);
- соединительные муфты с транспозицией экранов силового кабеля с соединением оптоволокна марки ИСМР-126-2000 (ООО «Изолятор АКС»);
- концевые штекерные муфты для КРУЭ/Трансформатора («папа» + «мама») с выводом оптоволокна марки ИКВ-126-2000, смонтированные в специальном устройстве, заполненном элегазом (ООО «Изолятор АКС»).
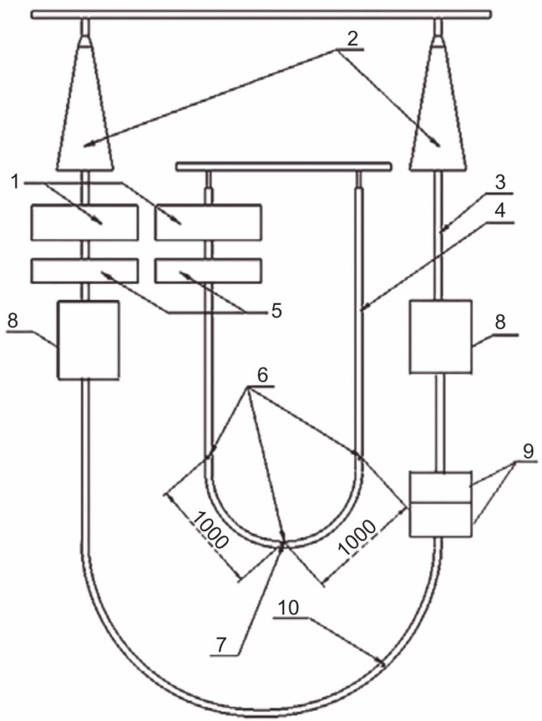
Принципиальная схема кабельной сборки для типовых электрических испытаний представлена на рисунке 1.

Основные виды проверок, проводимых в рамках типовых электрических испытаний, следующие:
- измерение частичных разрядов (Ч.Р.) при напряжении U = 1,5 U0 = 96 кВ, при температуре окружающей среды и при температуре жилы (95–100)°С;
- измерение тангенса угла диэлектрических потерь при переменном напряжении U0 = 64 кВ;
- испытания кабельной сборки двадцатью суточными циклами нагрева и охлаждения до максимальной температуры (95–100)°С на жиле под напряжением U = 2U0 = 128 кВ;
- испытание грозовым импульсным напряжением при температуре жилы (95–100)°С (10 импульсов положительной и 10 импульсов отрицательной полярности амплитудой Uисп = 550 кВ);
- испытание напряжением 2,5U0 = 160 кВ частотой 50 Гц в течение 15 мин;
- проверка удельного электрического сопротивления электропроводящих экранов (рисунок 2).

Результаты испытаний представлены в таблице 3.

По всем видам проверок и испытаний получены положительные результаты. По завершении испытаний кабельная сборка демонтирована и осмотрена на предмет наличия следов воздействия высокого напряжения, усадок, утечек жидкостей и газов и пр. В результате осмотра установлено, что какие-либо следы воздействия высокого напряжения и повышенной температуры, способные отрицательно повлиять на работоспособность кабеля и арматуры, отсутствуют.
Фотографии осмотра кабельной сборки после демонтажа представлены рисунках 3–6.

Рис. 3. Штекерная муфта марки ИКВ-126–2000 
Рис. 4. Изоляционное тело концевой (сухой) муфты ИСКМ-126-2000 и изоляция кабеля ПвПуп2г1×2000(гж)/240ов-64/110 кВ

Рис. 5. Концевая муфта ИКМ-126-2000 после снятия наружного изолятора и изоляция кабеля ПвПуп2г1×2000(гж)/240ов-64/110 кВ 
Рис. 6. Вид изоляции кабеля ПвПуп2г1×2000(гж)/240ов-64/110 кВ в зоне разделки электропроводящего экрана и соединительной гильзы (всоединительной муфте ИСМР-126-2000 в разрезе)
Для подтверждения длительных эксплуатационных характеристик были проведены предквалификационные испытания кабельной сборки в составе образцов кабеля и арматуры, указанных выше. Элементы испытательной сборки представлены на рисунках 7–9.


Общая длина сборки составила 100 м. В соответствии с [2] сборка должна подвергаться воздействию циклов нагрева/охлаждения до максимальной температуры 90–95°С, находясь под напряжением 1,7U0 = 109 кВ в течение одного года. Следует отметить, что требования российских заказчиков (ПАО «Россети») по отношению к проведению предквалификационных (годичных) испытаний более жесткие, чем требования международного стандартов МЭК. Согласно IEC 60840:2021 таким испытаниям подвергаются только кабели с напряженностью электрического поля по электропроводящему экрану по жиле более 8 кВ/мм или по экрану по изоляции — более 4 кВ/мм. При этом для испытаний достаточно образца длиной 20 м. В нашем случае предквалификационные испытания проходил кабель с более низкими значениями максимальных напряженностей электрического поля общей длиной 100 м.

По результатам проведенных предквалификационных испытаний кабельная сборка успешно выдержала весь спектр необходимых испытаний и исследований, чем подтвердила соответствие требуемым заявленным характеристикам и основания для промышленного применения.
ЗАКЛЮЧЕНИЕ
В рамках выполнения проекта НИОКР «Разработка российского изоляционного пероксидносшиваемого компаунда для силовых кабелей на напряжение 110 кВ» изготовлены два образца кабеля с изоляционной системой, выполненной из материалов отечественного производства. Образцы прошли комплекс типовых испытаний на соответствие требований технического задания и стандарта ГОСТ Р МЭК 60840-2022. Выполнена проверка конструкции кабелей, определены физико-механические характеристики изоляции и оболочки, проверка степени усадки изоляции и оболочки, стойкость к продольному распространению влаги по кабелю, прочность шва алюмополимерной ленты и прочность адгезии алюмо-полимерной ленты к оболочке кабеля. В рамках типовых электрических испытаний кабельная сборка выдержала испытания двадцатью циклами нагрева-охлаждения до максимальной температуры 95–100°С при подаче напряжения 128 кВ, а также испытания грозовым импульсным напряжением амплитудой 550 кВ (по 10 циклов отрицательной и положительной полярности).
Полученные результаты подтверждают высокое качество изоляционной композиции производства АО «Лидер-Компаунд» и образцов кабеля производства «Кирскабель», испытанные образцы не уступают зарубежным аналогам, а в части физикомеханических параметров превосходят зарубежные аналоги, применяемые для производства кабелей на класс напряжения 110 кВ. После всех проведенных испытаний данные кабельные системы могут поставляться на рынок и использоваться при строительстве кабельных линий. ![]()

ЛИТЕРАТУРА
- Акуличев В.О., Микрюков В.В., Пацев А.А. и др. Разработка отечественного изоляционного материала для силовых кабелей на напряжение 64/110 кВ // ЭЛЕКТРОЭНЕРГИЯ. Передача и распределение, 2024, № 3(84). С. 74–77.
- ГОСТ Р МЭК 60840–2022. Кабели силовые с экструдированной изоляцией и арматура к ним на номинальное напряжение свыше 30 кВ (Um = 36 кВ) до 150 кВ (Um = 170 кВ). Методы испытаний. URL: https://docs.cntd.ru/document/1200192141.