Анализ влияния солнечных электростанций на первичное регулирование частоты в энергосистеме Вьетнама

Аннотация

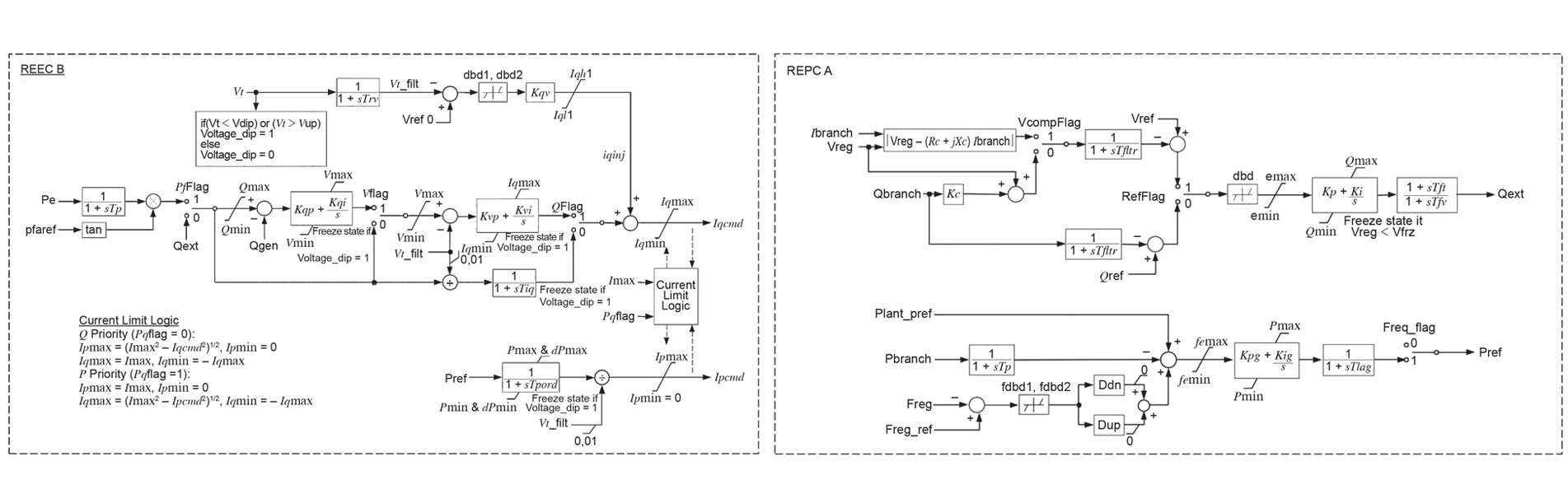
Быстрый рост доли солнечных фотоэлектрических электростанций (СФЭС) в структуре генерирующих мощностей электроэнергетических систем приводит к ухудшению условий регулирования частоты электрического тока, обусловленному выдачей мощности СФЭС посредством инверторов, которые работают, обеспечивая максимальное значение мощности фотоэлектрического преобразователя. В настоящей работе проведено исследование условий первичного регулирования частоты в энергосистеме Вьетнама с высокой долей СФЭС при нарушении баланса мощности. Результаты исследования показывают, что с увеличением доли СФЭС отклонение частоты в системе при возникновении небаланса мощности увеличивается. При значении доли СФЭС 40% могут сложиться условия срабатывания автоматической частотной разгрузки (АЧР) в энергосистеме. Высокая доля СФЭС также приводит к необходимости увеличения мощности резерва для обеспечения первичного регулирования частоты. В работе также предлагается подход к регулированию частоты в электроэнергетической системе с использованием распределенного резерва активной мощности на СФЭС.

Ключевые слова: солнечные фотоэлектрические электростанции, первичное регулирование частоты, резерв активной мощности

Оформить подписку Купить статью

Поделиться:

«ЭЛЕКТРОЭНЕРГИЯ. Передача и распределение» № 3(78), май-июнь 2023

Ранговый анализ и ансамблевая модель машинного обучения для прогнозирования нагрузок в узлах центральной энергосистемы Монголии

Энергоснабжение / Энергоэффективность Цифровая трансформация / Цифровые сети / Цифровая подстанция Мировой опыт
Русина А.Г. Осгонбаатар Т. Матренин П.В.
«ЭЛЕКТРОЭНЕРГИЯ. Передача и распределение»